Характеристики
Отзывы
Характеристики
Производитель
BRIGHT-TOOLS
Класс балансировки G
G2,5
Максимальное биение оправки
≤0,003
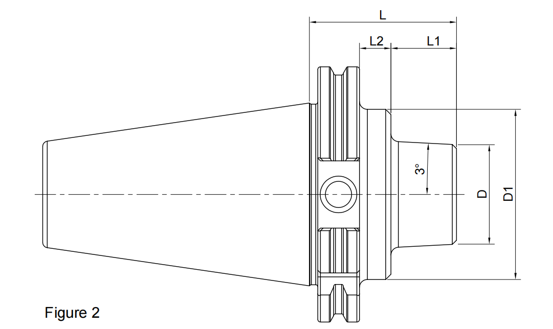
Диаметр конуса со стороны заготовки (D)
38
Длина конуса (L1)
25,9
Расстояние от торца со стороны заготовки до начала присоед. конуса (L)
45
Отзывы
Отзывов еще никто не оставлял




