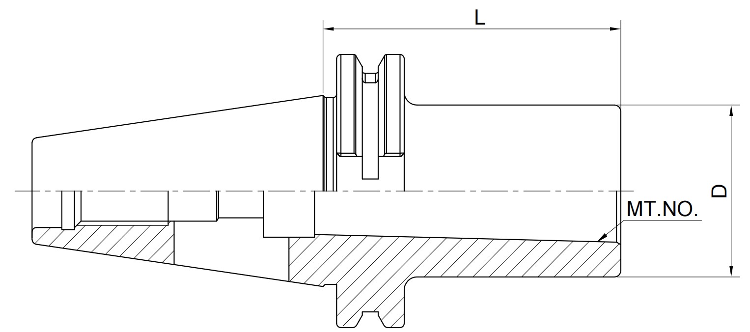
Втулка переходная SK50-MTA3-65 BRIGHT-TOOLS
SK50 – Данный вид корпусов встречается чаще всего на станках произведённых в ЕС. Данный конус, так же как и конус BT, имеет длинную конусную часть и отличается от конуса BT только пояском под автоматическую смену инструмента. Он так же устойчив к осевым усилиям. В последние десятилетия европейские производители станков практически не выпускают нового оборудования с данными конусами и обычно предпочитают конуса HSK либо Capta. Но все же данные конуса встречаются довольно часто на старых европейских станках.
Конус вставляется в шпиндель станка следующим образом:
Устройство автоматической подачи инструмента вставляет конус в шпиндель станка, после чего специальный механизм станка прочно притягивает оправу к конусу шпинделя станка, удерживая её с помощью штревеля. После команды управляющей программы на смену инструмента механическая рука берет оправку за канавку во фланце. Далее механизм притягивания фланца отсоединяется, механическая рука вытаскивает оправку с конуса шпинделя станка и помещает оправку в магазин станка.
|
Особенности конуса типа SK: - обеспечивают автоматическую смену инструмента - хорошо держат осевую нагрузку - имеет низкую стоимость - средняя повторяемость - имеет большую массу - на больших оборотах станка создает большую нагрузку на подшипники шпинделя |
![]() |
MTA3 - внутренний конус Морзе 3, предназначен для крепления инструмента в оснастке. Данный вид конуса является одним из самых первых инструментальных конусов и предназначен для работы на универсальных станках. Данная переходная втулка позволяет использовать ручной инструмент на станках ЧПУ. После снятия оправки инструмент из нее выбивается с помощью специального клина.
65 − вылет оправки со шпинделя станка составляет 65 мм. Небольшой вылет оправки обеспечивает максимальную жёсткость крепления инструмента. Данный вылет является минимальным для оправок такого типа, поскольку при меньшем вылете крепление инструмента может быть затруднено.
Материал оправки изготовлен из стали 20ХMT, с последующим термоулучшением, что позволяет получить отличное сочетание твёрдости и прочности, что способствует долговечности работы оправки и точности механической обработки.
Втулка переходная SK50-MTA3-65 BRIGHT-TOOLS
SK50 – Данный вид корпусов встречается чаще всего на станках произведённых в ЕС. Данный конус, так же как и конус BT, имеет длинную конусную часть и отличается от конуса BT только пояском под автоматическую смену инструмента. Он так же устойчив к осевым усилиям. В последние десятилетия европейские производители станков практически не выпускают нового оборудования с данными конусами и обычно предпочитают конуса HSK либо Capta. Но все же данные конуса встречаются довольно часто на старых европейских станках.
Конус вставляется в шпиндель станка следующим образом:
Устройство автоматической подачи инструмента вставляет конус в шпиндель станка, после чего специальный механизм станка прочно притягивает оправу к конусу шпинделя станка, удерживая её с помощью штревеля. После команды управляющей программы на смену инструмента механическая рука берет оправку за канавку во фланце. Далее механизм притягивания фланца отсоединяется, механическая рука вытаскивает оправку с конуса шпинделя станка и помещает оправку в магазин станка.

MTA3 - внутренний конус Морзе 3, предназначен для крепления инструмента в оснастке. Данный вид конуса является одним из самых первых инструментальных конусов и предназначен для работы на универсальных станках. Данная переходная втулка позволяет использовать ручной инструмент на станках ЧПУ. После снятия оправки инструмент из нее выбивается с помощью специального клина.
65 − вылет оправки со шпинделя станка составляет 65 мм. Небольшой вылет оправки обеспечивает максимальную жёсткость крепления инструмента. Данный вылет является минимальным для оправок такого типа, поскольку при меньшем вылете крепление инструмента может быть затруднено.
Особенности конуса типа SK:
- обеспечивают автоматическую смену инструмента
- хорошо держат осевую нагрузку
- имеет низкую стоимость
- средняя повторяемость
- имеет большую массу
- на больших оборотах станка создает большую нагрузку на подшипники шпинделя
Материал оправки изготовлен из стали 20ХMT, с последующим термоулучшением, что позволяет получить отличное сочетание твёрдости и прочности, что способствует долговечности работы оправки и точности механической обработки.





